Special Features
- Thickness gauge DMH-820-1 features an easy to read analog display along with the high accuracy
- The thickness gauge is available with 5 different feelers, which can be found below
- Measuring by spring force of 1 N
- Opening by lifting device – self closing thickness gauge DMH-820-1

- Thickness gauge is optional available with big foot (Code F) for on table use
Available Models
| Model | Measuring Range |
Resolution | Depth of Jaw |
|
| DMH-820-1 | 25 mm | 0.01 mm | 200 mm | |
| alternative | ||||
| DMH-3-1 | 25 mm | 0.01 mm | 50 mm | |
| DMH-830-F | 10 mm | 0.01 mm | 300 mm | |
| DMH-830-1-F | 25 mm | 0.01 mm | 300 mm | |
| DMH-850-F | 10 mm | 0.01 mm | 500 mm | |
| DMH-850-1-F | 25 mm | 0.01 mm | 500 mm |
To order, please indicate the desired feeler, e.g. DMH-820-1-B for gauge with feeler “B”



for rubber, felt*, soft materials*, non wovens* etc., diameter 30 mm
For rubber, felt*, soft materials*, non wovens*, etc.
Suitable for rubber, felt*, soft materials*, non wovens*, etc. diameter 20 mm
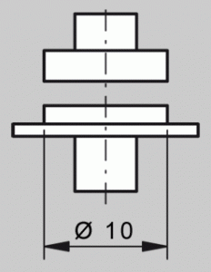
For soft leather, cardboard, paper, foils, etc., diameter 10 mm
Suitable for sheet metal, etc. radius 1.5 mm
For hard leather, plywood, fiberboard, etc., radius 6 mm